电脑桌面
添加蜗牛文库到电脑桌面
安装后可以在桌面快捷访问

SCT 8051-1994 渔船300系列柴油机胀瓦式离合器修理技术要求.pdfVIP免费

SCT 8051-1994 渔船300系列柴油机胀瓦式离合器修理技术要求.pdf_第1页
SCT 8051-1994 渔船300系列柴油机胀瓦式离合器修理技术要求.pdf_第2页
SCT 8051-1994 渔船300系列柴油机胀瓦式离合器修理技术要求.pdf_第3页
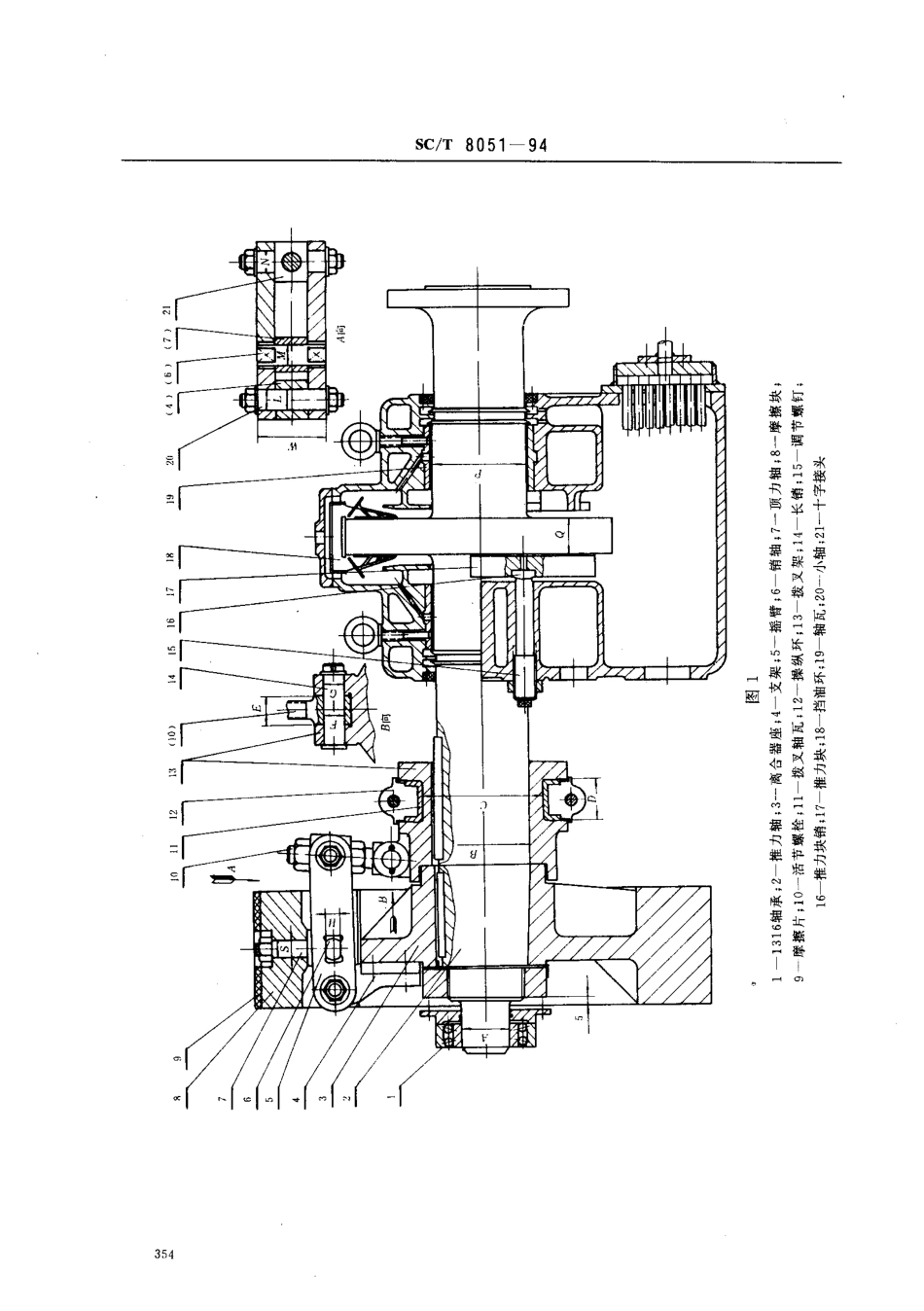
中华人民共和国水产行业标准SC/T8051一94渔船300系列柴油机胀瓦式离合器修理技术要求代替SC51--801主肠内容与适用范围本标准规定了渔船用300系列柴油机胀瓦式离合器及推力轴承的修理技术要求。本标准适用于渔船用300系列柴油机胀瓦式离合器及推力轴承修理后的质量验收。2主要,件的材料与配合间隙2.1主要零件的材料按图样规定进行制造,在保证原设计技术要求的条件下,允许用其他材料代替。2.2胀瓦式离合器及推力轴承简图见图1,2.3主要零件的配合应按表1规定。表1mm序号部位代号名称公称尺寸配合性质新装值修换值使用极限1A1316轴承与推力轴笋80过盈0.015^0.025松动2L支架与小轴价35间隙0.06^-0.080.150.203K小轴与摇份声35间隙0.06^0.080.150.204M销轴与顶力轴X30间隙0.06-0.080.300.405S顶力轴与摩擦块们0间隙0.03-0.050.100.156H悄轴与摇臂25间隙0.05^-0.080.200.25滑块与销轴沪24间隙0.05-0.080.200.25滑块与摇竹36间隙0.03-0-050.107N摇竹与十字接头尹35间隙0.06-0.080.200.258F活节螺栓与悄轴价35间隙0.06-0.080.150.209E活节螺栓与拨叉架50轴向间隙0.40^-0.5010G援叉架与长销435间隙0.02^-0.040.080.1011B拨叉架与推力轴价155间隙0.20^0.250.500.7012C拨叉架与操纵环价205间隙0.30-0.401.513D拨叉架与操纵环70轴向间隙0.50^-0.801.5中华人民共和国农业郊1994一11一01批准1995一01一01实施SC/T8051一94续表1nl】11序号部位代号名称公称尺寸配合性质新装值修换值使用极限14尸推力轴颈与轴瓦声160间隙0.30^-0.350.5015Q推力轴环与推力环65轴向间隙0.20^-0.2516W支架摇甘小轴115.5轴向间隙0.50^-0.55住:①新装值:指修理中两个相配合的零件全部换新时的公差值.②修换值:指零件的配合尺寸达到或超过此值时,必须修换.③相配合的零件修换时,如果换其中一个,其配合尺寸允许在新装值和修换值之间。④使用极限:系指零件在使用中的磨损极限,达到此值时要立即修换。353SC/T8051一94水热外+·丈﹄释令。吮旧霹一臼﹄愉坦抓的[咔崭只擎一卜1咔擎澎只据日︸软麟护卿一写﹄取军一对二默以粼一”二愉潇蛾12弓旧界峨粼|1叹勿瞬姐煦|。二大晰锄一6略洲绷瞥1的峰霹只肾|卜吟界深|吮伽卑|叹珠拟|叹恻鹅切被!·的吟撰只犯|吮眨解9洲帅[|1T画354sc/T8051一943主要零件的修换要求3.1推力轴(2)与离合器座(3)的锥形配合面的接触面积应大于整个配合面的70%,且六角大螺母与离合器座端面距离大于5mm(如图1所示)口3.2摩擦片(s)与飞轮结合面磨损起楞,划痕深度大于0.50m...

1、当您付费下载文档后,您只拥有了使用权限,并不意味着购买了版权,文档只能用于自身使用,不得用于其他商业用途(如 [转卖]进行直接盈利或[编辑后售卖]进行间接盈利)。
2、本站所有内容均由合作方或网友上传,本站不对文档的完整性、权威性及其观点立场正确性做任何保证或承诺!文档内容仅供研究参考,付费前请自行鉴别。
3、如文档内容存在违规,或者侵犯商业秘密、侵犯著作权等,请点击“违规举报”。

碎片内容

蜗牛文库的最新文档

二年级数学下册其中检测卷二年级数学下册其中检测卷附答案#期中测试卷.pdf
10.00金币
0下载
二年级数学下册期末质检卷(苏教版)二年级数学下册期末质检卷(苏教版)#期末复习 #期末测试卷 #二年级数学 #二年级数学下册#关注我持续更新小学知识.pdf
10.00金币
0下载
二年级数学下册期末混合运算专项练习二年级数学下册期末混合运算专项练习#二年级#二年级数学下册#关注我持续更新小学知识 #知识分享 #家长收藏孩子受益.pdf
10.00金币
1下载
二年级数学下册年月日三类周期问题解题方法二年级数学下册年月日三类周期问题解题方法#二年级#二年级数学下册#知识分享 #关注我持续更新小学知识 #家长收藏孩子受益.pdf
10.00金币
0下载
二年级数学下册解决问题专项训练二年级数学下册解决问题专项训练#专项训练#解决问题#二年级#二年级数学下册#知识分享.pdf
10.00金币
1下载
二年级数学下册还原问题二年级数学下册还原问题#二年级#二年级数学#关注我持续更新小学知识 #知识分享 #家长收藏孩子受益.pdf
10.00金币
1下载
二年级数学下册第六单元考试卷家长打印出来给孩子测试测试争取拿到高分!#小学二年级试卷分享 #二年级第六单考试数学 #第六单考试#二年级数学下册.pdf
10.00金币
0下载
二年级数学下册必背顺口溜口诀汇总二年级数学下册必背顺口溜口诀汇总#二年级#二年级数学下册 #知识分享 #家长收藏孩子受益 #关注我持续更新小学知识.pdf
10.00金币
0下载
二年级数学下册《重点难点思维题》两大问题解决技巧和方法巧算星期几解决周期问题还原问题强化思维训练老师精心整理家长可以打印出来给孩子练习#家长收藏孩子受益 #学霸秘籍 #思维训练 #二年级 #知识点总结.pdf
10.00金币
0下载
二年级数学下册 必背公式大全寒假提前背一背开学更轻松#二年级 #二年级数学 #二年级数学下册 #寒假充电计划 #公式.pdf
10.00金币
0下载
蜗牛文库+ 关注
实名认证
内容提供者

提供各种专业文档内容

确认删除?
QQ
  • QQ点击这里给我发消息
微信客服
  • 微信客服
回到顶部